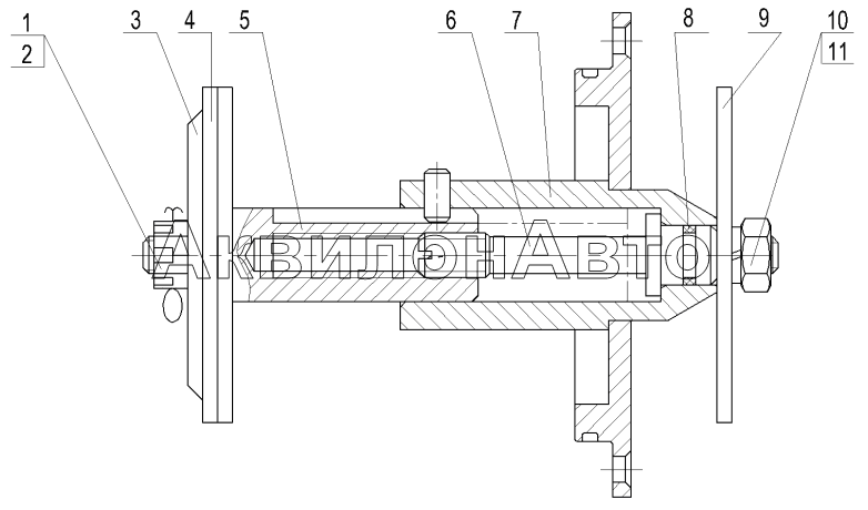
ВЕНТИЛЬ В СБОРЕ КС-5576А.208.02.000
| № |
Артикул |
Наименование детали |
Кол-во в узле |
| 1 |
КС-5576А.208.02.005 |
Гайка
|
1 шт
|
|
| 2 |
2,5х25.019 |
Шплинт 2,5х25.019
|
1 шт
|
|
| 3 |
КС5576А.208.02.002 |
Шайба
|
1 шт
|
|
| 4 |
КС-5576А.208.02.003 |
Прокладка
|
1 шт
|
|
| 5 |
КС-5576А.208.02.100 |
Шток
|
1 шт
|
|
| 6 |
КС-5576А.208.02.001 |
Винт
|
1 шт
|
|
| 7 |
КС-5576А.208.02.200 |
Крышка в сборе
|
1 шт
|
|
| 8 |
011-015-25-2-3 |
Кольцо 011-015-25-2-3
|
1 шт
|
|
| 8 |
11В820 |
Кольцо 11В820
|
1 шт
|
|
| 9 |
КС-5576А.208.02.004 |
Ручка
|
1 шт
|
|
| 10 |
М10-6Н.5.019 |
Гайка М10-6Н.5.019
|
1 шт
|
|
| 11 |
10.65Г.05 |
Шайба 10.65Г.05
|
1 шт
|
|
Список просмотренных товаров пуст
AlfaSystems GoPro GP261D21