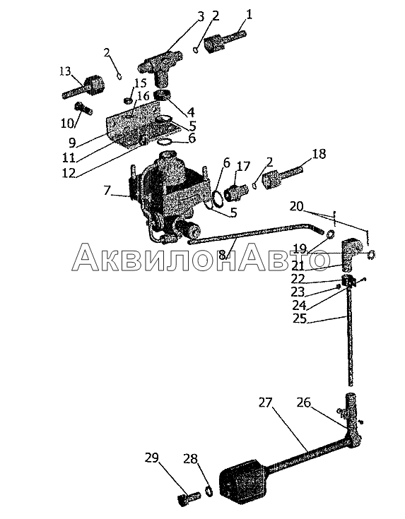
Регулятор тормозных сил с присоединительной арматурой на МАЗ-533702
№ |
Артикул |
Наименование детали |
Кол-во в узле |
1 |
533702-3506286 |
Трубка
|
1 шт
|
|
2 |
008-011-19-2-3 |
Кольцо
|
3 шт
|
|
3 |
403033 |
Тройник
|
1 шт
|
403033
Тройник
|
4 |
374939 |
Гайка М22х1,5-6Н
|
1 шт
|
|
5 |
376145 |
Шайба 22
|
2 шт
|
|
6 |
020-025-30-2-3 |
Кольцо
|
2 шт
|
|
7 |
100-3533010 |
Регулятор тормозных сил
|
1 шт
|
100-3533010
Регулятор тормозных сил
|
7 |
61.20.014.0 |
Регулятор тормозных сил
|
1 шт
|
|
8 |
100-3533062 |
Рычаг
|
1 шт
|
|
8 |
64229-3533062 |
Рычаг
|
1 шт
|
|
9 |
5336-3533016 |
Кронштейн
|
1 шт
|
|
10 |
201499 |
Болт М10-6gх30
|
2 шт
|
|
11 |
252136 |
Шайба 10.ОТ
|
2 шт
|
|
12 |
250512 |
Гайка М10-6Н
|
2 шт
|
250512
Гайка М10-6Н
|
13 |
533702-3506158 |
Трубка
|
1 шт
|
|
15 |
250510 |
Гайка М8-6Н
|
2 шт
|
|
16 |
252135 |
Шайба 8Т
|
2 шт
|
|
17 |
404304 |
Штуцер
|
1 шт
|
404304
Штуцер
|
18 |
533702-3506280 |
Трубка (к ускорительному клапану заднего тормозного контура)
|
1 шт
|
|
19 |
252005 |
Шайба 8
|
2 шт
|
|
20 |
258013 |
Шплинт 2х16
|
2 шт
|
|
21 |
54321-3533065 |
Муфта
|
1 шт
|
54321-3533065
Муфта
|
22 |
6422-3533070 |
Хомут
|
2 шт
|
|
23 |
250462 |
Гайка М4-6Н
|
2 шт
|
|
24 |
220053 |
Винт 4х14
|
2 шт
|
|
25 |
5432-3533018-01 |
Тяга
|
1 шт
|
|
26 |
6422-3533065 |
Муфта
|
1 шт
|
6422-3533065
Муфта
|
27 |
64221-3533110 |
Упругий элемент
|
1 шт
|
|
28 |
201538 |
Болт М12-6gх25
|
1 шт
|
201538
Болт М12-6gх25
|
29 |
252137 |
Шайба 12.ОТ
|
1 шт
|
|
Список просмотренных товаров пуст
AlfaSystems GoPro GP261D21