№ |
Артикул |
Наименование детали |
Кол-во в узле |
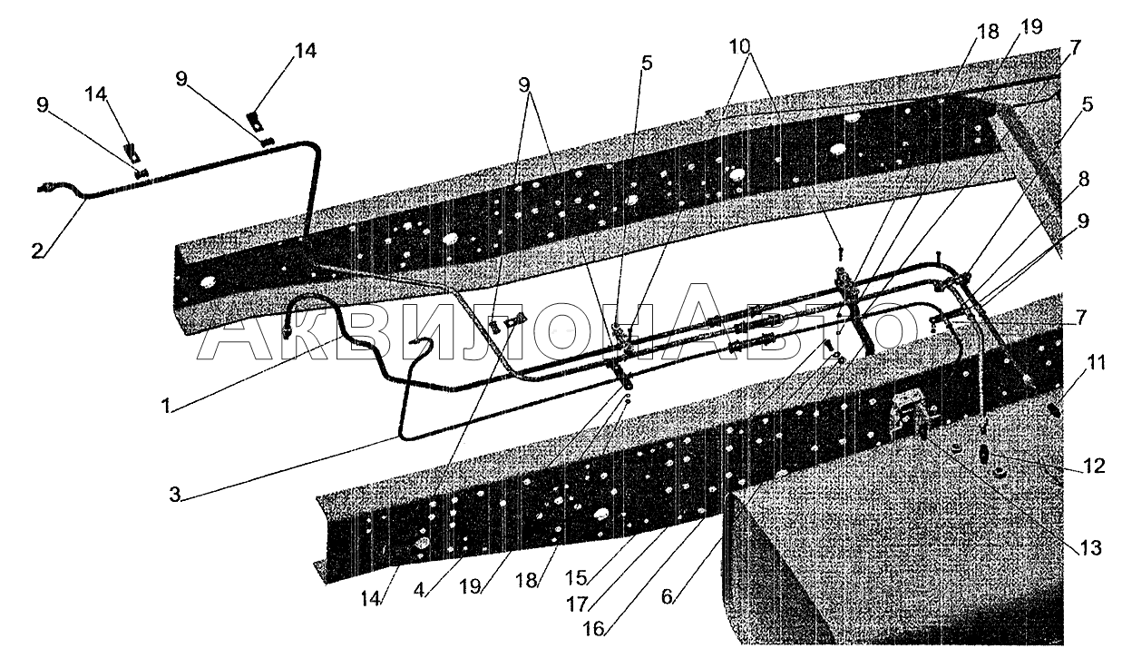
1 |
533602-1104492-010 |
Трубка всасывающая со шлангом
|
1 шт
|
|
1 |
533605-1104492 |
Трубка всасывающая со шлангом
|
1 шт
|
|
2 |
533602-1104586-010 |
Трубка отводящая со шлангом
|
1 шт
|
|
2 |
53362-1104586-10 |
Трубка отводящая со шлангом
|
1 шт
|
|
3 |
533602-1104617 |
Трубка, отводящая от форсунок
|
1 шт
|
|
3 |
53362-1104617 |
Трубка, отводящая от форсунок
|
1 шт
|
|
4 |
5336-1104016 |
Кронштейн
|
1 шт
|
|
4 |
642205-1104016 |
Кронштейн
|
1 шт
|
|
5 |
5551-1104012 |
Хомут
|
3 шт
|
|
6 |
6317-1104016 |
Кронштейн
|
1 шт
|
|
7 |
500-1104541-Б |
Втулка
|
3 шт
|
|
8 |
5551-1104017 |
Пластина
|
1 шт
|
|
9 |
500-1104540 |
Втулка
|
9 шт
|
|
10 |
200213 |
Болт М6-6gх35
|
6 шт
|
|
11 |
314612 |
Ниппель
|
1 шт
|
314612
Ниппель
|
12 |
379053 |
Угольник
|
1 шт
|
379053
Угольник
|
13 |
379064 |
Угольник
|
1 шт
|
379064
Угольник
|
14 |
379166 |
Кляммер
|
3 шт
|
|
15 |
201497 |
Болт М10-6gх25
|
2 шт
|
201497
Болт М10-6gх25
|
16 |
250512 |
Гайка М10-6Н
|
2 шт
|
250512
Гайка М10-6Н
|
17 |
252156 |
Шайба 10Л
|
2 шт
|
|
18 |
250508 |
Гайка М6-6Н
|
6 шт
|
250508
Гайка М6-6Н
|
19 |
252134 |
Шайба 6Т
|
6 шт
|
|