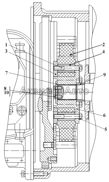
Установка демпфера ТО-28А.02.00.900-Б
№ |
Артикул |
Наименование детали |
Кол-во в узле |
|
ТО-28А.02.00.940 |
Диск ведомый
|
1 шт
|
ТО-28А.02.00.940
Диск ведомый
|
1 |
М12-6gх75.109.40Х.0115 |
Болт
|
6 шт
|
|
2 |
ДР-3065.42.104 |
Демпфер
|
1 шт
|
|
3 |
ТО-18Б72.08.002 |
Фланец
|
1 шт
|
|
4 |
ТО-18Б72.08.003 |
Втулка
|
6 шт
|
|
5 |
ТО-18Б72.08.006 |
Планка
|
3 шт
|
|
6 |
ТО-28А02.00.921 |
Ступица
|
1 шт
|
|
7 |
Д-902.20.00.007 |
Шайба крепления
|
1 шт
|
|
8 |
ДЭ-226.20.00.006 |
Планка закрепительная
|
1 шт
|
|
9 |
ТО-28А.02.00.902 |
Втулка
|
1 шт
|
|
10 |
М8-6gх20.88.35.0115 |
Болт
|
2 шт
|
|
Список просмотренных товаров пуст
AlfaSystems GoPro GP261D21