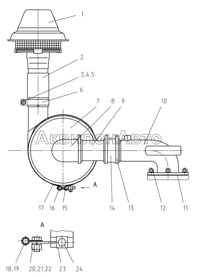
Установка воздухоочистителя 237.02.04.00.000
№ |
Артикул |
Наименование детали |
Кол-во в узле |
1 |
А53.21.000-02 |
Моноциклон А53.21.000-02
|
1 шт
|
|
2 |
286.02.03.00.001 |
Труба
|
1 шт
|
|
3 |
БолтМ12х40 |
Болт М12х40
|
1 шт
|
|
4 |
ГайкаМ12 |
Гайка М12
|
1 шт
|
|
5 |
Шайба12.65Г |
Шайба12.65Г
|
5 шт
|
|
6 |
286.02.03.00.002 |
Хомут
|
1 шт
|
|
7 |
260-110.90015 |
Воздухоочиститель 260-110.90015
|
1 шт
|
|
8 |
260-110.9009-А |
Патрубок 260-110.9009-А
|
1 шт
|
|
9 |
237.02.04.00.004 |
Труба
|
1 шт
|
|
10 |
237.02.04.00.001 |
Патрубок
|
1 шт
|
|
11 |
237.02.04.00.008 |
Прокладка
|
1 шт
|
|
12 |
ГайкаМ12х1,25 |
Гайка М12х1,25
|
4 шт
|
|
13 |
237.02.04.00.007 |
Рукав 90х110 L=75
|
1 шт
|
|
14 |
ХС-101.019 |
Хомут стяжной ХС-101.019
|
4 шт
|
|
15 |
286.02.03.00.005 |
Ось
|
2 шт
|
|
16 |
286.02.03.00.006 |
Ось
|
2 шт
|
|
17 |
286.02.03.00.004 |
Лента стяжная
|
2 шт
|
|
18 |
О.8842001 |
Хомут
|
1 шт
|
|
19 |
200.08.00.11.002 |
Втулка
|
1 шт
|
|
20 |
БолтМ10х20 |
Болт М10х20
|
1 шт
|
|
21 |
ГайкаМ10 |
Гайка М10
|
1 шт
|
|
22 |
Шайба10.65Г |
Шайба10.65Г
|
1 шт
|
|
23 |
237.02.04.00.010 |
Переходник
|
1 шт
|
|
24 |
БолтМ10х50 |
Болт М10х50
|
2 шт
|
|
Список просмотренных товаров пуст
AlfaSystems GoPro GP261D21