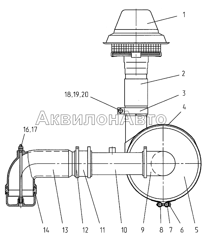
Установка воздухоочистителя 250.02.03.00.000-00
№ |
Артикул |
Наименование детали |
Кол-во в узле |
1 |
А53.21.000-02 |
Моноциклон А53.21.000-02
|
1 шт
|
|
2 |
286.02.03.00.001 |
Труба
|
1 шт
|
|
3 |
286.02.03.00.002 |
Хомут
|
1 шт
|
|
4 |
286.02.03.00.004 |
Лента стяжная
|
2 шт
|
|
5 |
260-1109015 |
Воздухоочиститель
|
1 шт
|
260-1109015
Воздухоочиститель
|
6 |
БолтМ10х50 |
Болт М10х50
|
2 шт
|
|
7 |
286.02.03.00.005 |
Ось
|
2 шт
|
|
8 |
286.03.02.00.006 |
Ось
|
2 шт
|
|
9 |
260.-1109009-А |
Патрубок 260.-1109009-А
|
1 шт
|
|
10 |
250.02.03.02.000-00 |
Труба
|
1 шт
|
|
11 |
250.02.03.00.005 |
Рукав
|
1 шт
|
|
12 |
NORMA90-110 |
Хомут червячный
|
4 шт
|
|
13 |
250.02.03.01.000 |
Патрубок
|
1 шт
|
|
14 |
100-110-58-2-2 |
Кольцо 100-110-58-2-2
|
1 шт
|
|
16 |
250.02.03.00.002 |
Стяжка
|
1 шт
|
|
17 |
ГайкаМ10 |
Гайка М10
|
2 шт
|
|
18 |
БолтМ12х40 |
Болт М12х40
|
1 шт
|
|
19 |
ГайкаМ12 |
Гайка М12
|
1 шт
|
|
20 |
Шайба12.65Г |
Шайба12.65Г
|
1 шт
|
|
Список просмотренных товаров пуст
AlfaSystems GoPro GP261D21